天天足球直播

今天是:
设为主页 加入收藏联系我们
安全宣传
当前位置: 主页 >> 天天足球直播 >> 安全宣传 >> 正文
天天足球直播 开展新学期实验室安全回头看暨实验室安全知识培训
2023-09-08 14:08  

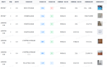
根据学校实验室管理及消防安全相关规定要求,秋季开学前天天足球直播组织安全检查小组于8月28日开展了实验室安全大检查,同时充分利用学校新启用的“实验室安全信息管理平台”,对院属所有科研、教学实验室开展安全、卫生、消防大检查。检查组由吝曼卿副院长带队,各专业实验室相关负责人参加。

通过检查,实验室各房间水、电设施运转良好,应关尽关;灭火设施配置齐全;化学药品柜配置规范,卫生环境较好,天天足球直播整体安全情况良好。同时也存在一些问题,及时通过“实验室安全信息管理平台”实时发布。共计发现隐患7间次。

9月7日上午天天足球直播组织检查小组开展实验室安全隐患回头看,对前期涉及安全隐患实验室重点复查。实验室各房间水、电设施运转良好;化学药品柜配置规范,卫生环境较好,整改到位,天天足球直播整体安全情况良好。为新学期实验室安全、平稳运行创造了良好开端。

为进一步宣传实验室安全管理知识,规范实验室管理,强化实验室安全意识。9月7日下午召开全院大会之际,天天足球直播实验中心李志国主任专门做了“强意识 排隐患 保安全”主题报告。报告梳理了近几年高校实验室安全事故,分析总结了触发安全事故的主要原因在于违反实验操作规程、实验操作不慎,反映出:实验人员安全意识淡薄、操作不规范,实验环境有安全隐患,就此着重强调“强意识 排隐患 保安全”。同时全院教职工一起学习了国家、学校、天天足球直播三级实验室安全管理相关规章制度,重点解读了建立健全全员实验室安全责任制。全院实验相关教师,表达了加强学习、提高意识、勤练技能、规范操作、共筑实验室安全防线的强烈意愿,报告取得圆满成功。

(审稿人:江本武)

关闭窗口